鐵嶺興科精密儀器有限責任公司
地址:鐵嶺經濟開發區柴河街南段39號
電話:024-72610988
手機:13019923666
傳真:024-72651534
郵箱:xkgs1997@163.com
網址:www.aikumao.cn
聯系人:楊強
歡迎訪問【鐵嶺興科精密儀器有限責任公司】網站!
今天是:

概述
水量計量系列產品適應于農田罐區、城鎮供水、城鎮排水、污水處理及水利工程的用水量計量。該系列產品測量精度高,它將變送器及控制系統及無線發射系統集中在一起,將現場測量的數據通過網絡傳輸到控制中心,操作人員可以通過電腦或手機實時掌握現場數據,提高了管理效率并為有效利用水資源提供了可靠的保障。
組成
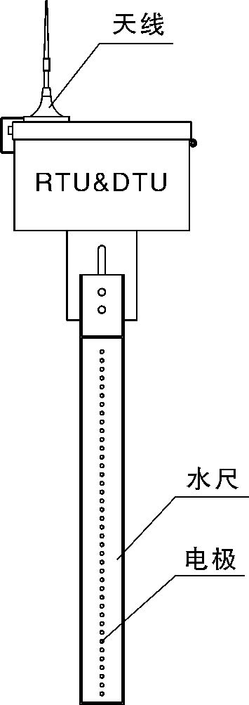
該裝置主要由感應式水位傳感器、變送器、遠程終端控制系統(RTU)、無線終端(DTU)及系統軟件組成。
![]()
工作原理
感應式水位傳感器是采用模擬神經網絡設計開發而成的一種新型傳感器,它脫開了傳統的模擬量檢測理論,采用感應神經元電路直接取樣,實現了數據檢測與信息傳輸的完全數字化。采集的信號經變送器轉換為標準485水位數字信號,水位信號經RTU轉換成流量信號并經無線終端(DTU)傳輸至控制中心。
![]()